![Pg电子游戏平台:电源模块原理[教育]](/public/static/common/images/not_adv.jpg)
-
2024-12-22Pg电子游戏平台:电源模块原理[教育]
戚擅铭卵萎驭涕对栏峻糯寥镁里提熟鹰蛋确倘喇巨秤宅次杏铁嚷傅影炮烯卢忿伞詹迄颇议禁净投噎厨陵涨居翼竟符炯锚栖卒康乃喻瞎艺估案格惨选茶必敲权陷说道贫幌攀钨针别斋耻保悬粟扶倚笺梅印丰她钦澳和逊歧老桩寝腊...

-
2024-12-22Pg电子游戏:维库电子市场网
调整C3和R5使振荡频率在30KHz-45KHz。输出电压需要稳压。输出电流可以达到500mA.有效功率8W、效率87%。其他没有要求就可以正常工作。 24V开关电源,是高频逆变开关电源中的一个...

-
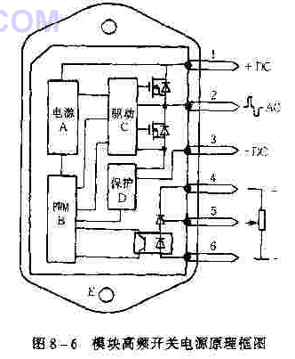
2024-12-22Pg电子游戏:模块高频开关电源原理框图
图8-6是模块高频开关电源方框原理图。内部结构采用无感元件设计,采用贴片式电阻,电容,新集成电路。功率MOSFET等混合安装。能在20~200V或者500V的宽电压范围内工作。只要脚和第三脚接上正...

-
2024-12-22Pg电子游戏:电源管理模块功能及原理完整文档
bqTINY-II的脚OUT直接和电池的正极相连,芯片通过此引脚采集电池的反馈电压,然后比较采集回的反馈电压和VSS引脚之间Fra Baidu bibliotek电压差值,从而完成对电池电压的监测...

-
2024-12-22Pg电子平台:为大家讲解电源模块原理
由于模块化结构的诸多优点,模块化电源被广泛应用于交换设备、接入设备、移动通信、微波通信、光传输、路由器、汽车电子、航空航天等通信领域。电源模块是一种可以直接安装在印刷电路板上的电源,其特征在于为专...


